2026 年 4 月 21 日凌晨 1 點 18 分發生台中火災,位於台中市西屯區工業區三路的統昶行銷低溫物流中心驚傳火警。
起火點位西屯工廠廠房二樓,現場散發大量濃煙與火舌。台中市消防局接獲報案後,立即出動共 20 輛消防車及 44 名人員趕往灌救。火勢於凌晨 3 時 10 分獲得控制並撲滅,燃燒面積約 145 坪。
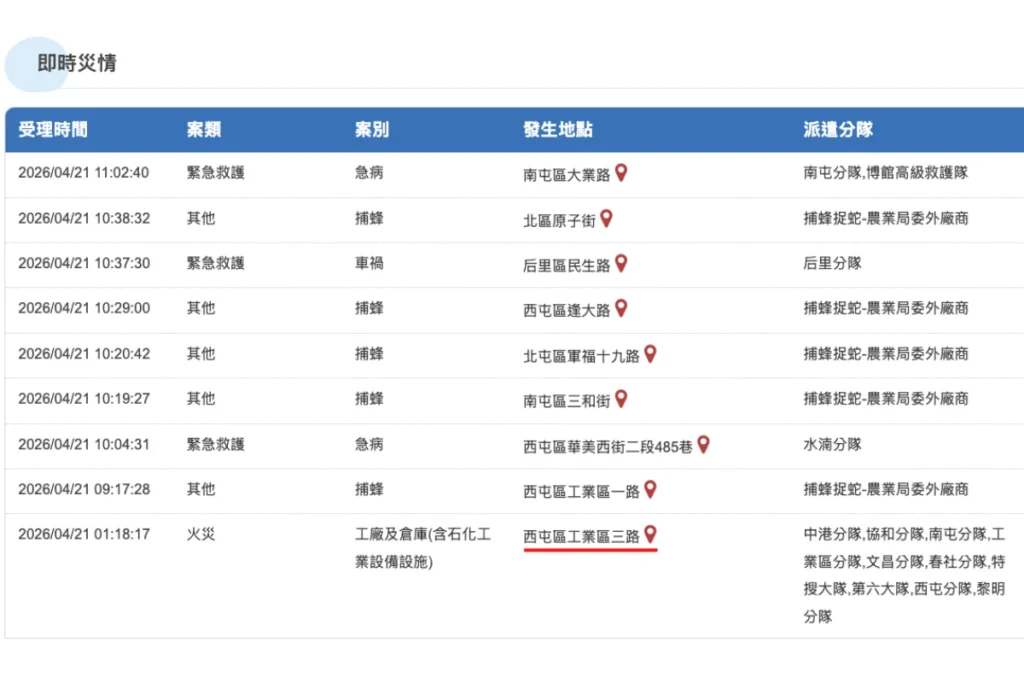
台中火警將火勢撲滅後,今早又再次傳出濃煙,以下為你即時報導台中火災現況。
統昶火災後續:物流中心暫停營業、台中 7-11 冷藏大缺貨!
2026 年 4 月 21 日統昶火災內政部消防署證實當天完成火勢撲滅,現場兩層鐵皮建築、內部機台遭到燒毀,燃燒面積約 480 平方公尺,所幸沒有人員傷亡。
統昶火災火勢撲滅後,工業路三段的低溫物流中心地圖顯示改為暫停營業中,何時能夠恢復運作仍需等待近一步官方公告。

受低溫物流燒毀影響,台中 7-11 冷藏架空空
日前(4/21)統昶發生嚴重大火後,統一超商架上冷藏、鮮食架上幾乎沒有商品。

台中火災半夜濃煙,網友急發西屯都是塑膠味!
2026 年 4 月 21 日凌晨台中火災散發燒塑膠惡臭,Threads 上網友詢問「台中西屯怎麼都是燒塑膠的味道,哪裡火災嗎?」
查詢台中市消防即時災情系統,台中工業區三路工廠火災當晚已撲滅火勢,以下整理台中火災撲滅時間軸:
- 01:18:消防局接獲民眾報案,台中工業區三路物流大樓起火。
- 01:25:首批消防分隊抵達,發現二樓冷凍倉儲處已有明顯火煙。
- 01:40:火勢擴大,消防局增派第六大隊及多個分隊支援,佈署多條水線防護。
- 03:10:火勢成功撲滅,開始進行殘火處理與排煙作業。
- 09:00:火調人員進入現場進行初步鑑識。

台中火警發生後,台中消防隊立刻出動 10 個分隊進行救災,火勢大約在 3 點多控制,目前無人傷亡,救災完成後各隊以返回。
台中工業區火災工廠為統一旗下低溫物流中心

台中工業區火災消防局接獲通報到場發現是統一旗下低溫物流中心「統昶行銷股份有限公司」,位在台中的低溫物流中心。
起火點在物流中心 2 樓冷凍倉庫上方夾層,業者察覺異狀後立刻疏散場內人員,初步估計燃燒面積 480 平方公尺,包含二樓挑高鐵皮冷凍倉儲,財損約 100 萬。
詳細起火原因仍需等待火調人員進一步完成鑑識釐清。
台中火災 4/21 早上又冒濃煙,疑似悶燒再起火?
4/21 同日早上 10 點再次有網友發文同方向濃煙滾滾,目前原因不明。

結論:台中火災半夜惡火,不論復燃、殘煙民眾切勿觀望
4/21 發生在統昶行銷物流中心的火警,雖然在消防人員的全力搶救下,凌晨 3 點 10 分完成初步滅火,且萬幸無人傷亡。
今早 10 點又再次傳出濃煙警報,目前不確定是否悶燒復燃或是殘煙影響,附近居民切記緊閉門窗、出門帶好口罩,且不要到場觀望避免影響救災、吸入濃煙。
台中西屯居民注意濃煙!
1. 緊閉門窗:西屯區及下風處居民請暫時關閉門窗,避免惡臭進入室內。
2. 外出配戴口罩:若必須經過工業區附近,建議配戴具有過濾功能的口罩,降低呼吸道不適。
3. 持續關注官方資訊:目前火調人員仍在釐清是否發生「二次起火」或僅為殘煙,請以消防局官方發布為準。
延伸閱讀:





